
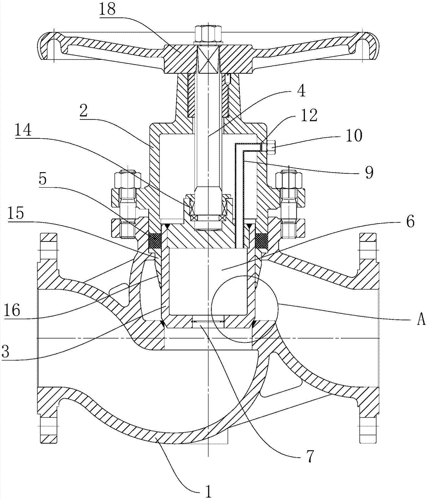
柱塞閥結構是由閥體、閥蓋、閥桿、柱塞、孔架、密封環、手輪等部件組成。當手輪旋轉,通過閥桿帶動柱塞在孔架中間上下往復運動來完成閥門的開啟與關閉功能。

柱塞閥中柱塞與密封環間采用過盈配合,通過調節壓蓋中法蘭螺栓,使密封環壓縮所產生的側向力與閥體中孔面及柱塞外圓密封,從而保證了閥門的密封性。
柱塞閥開啟力矩小,能實現閥門迅速開啟和關閉。柱塞閥相比截止閥,壽命長,操作省力。但柱塞閥的調節行程比截止閥要長,所以節流控制比截止閥要難。
柱塞閥工作原理
閥門的關閉由一個不銹鋼柱塞、上下兩只富彈性密封圈及一個金屬隔框組成,密封效果由柱塞與密封圈緊密配合來達到,柱塞插在兩只密封圈中,密封面積遠大于普通截止閥;開關柱塞閥時,柱塞在密封圈中緩慢移動,接觸面幾乎不磨損,關閉時,柱塞插入下密封圈,截斷流道;開啟時,柱塞雖然脫離下密封圈,但仍藏在上密封圈內,保持與外界隔離,不致發生泄漏。
柱塞閥分類
一、 螺紋連接或承插焊連接直通式柱塞閥
1、流道:直通式
2、閥體、閥蓋為鑄鋼或鑄鋼件,柱塞、閥桿、隔離環為不銹鋼。密封圈為柔性石墨或聚四氟乙烯
3、密封環、隔離環由閥體和閥蓋連接螺栓、螺母、彈簧墊壓緊
4、靠柱塞外徑與密封環內經實現密封
5、該閥啟閉速度較慢
二、對焊接連接直通式柱塞閥
1、流道:直通式
2、閥體、閥蓋材料為鑄鋼
3、其他結構特點同序號
三、法蘭連接直通式柱塞閥
1、流道:直通式
2、閥體、閥蓋為鑄鋼或鑄鋼件,柱塞、閥桿、隔離環為不銹鋼。密封圈為柔性石墨或聚四氟乙烯
3、密封環、隔離環由閥體和閥蓋連接螺栓、螺母、彈簧墊壓緊
4、靠柱塞外徑與密封環內經實現密封
5、該閥啟閉速度較慢
四、法蘭連接壓力平衡直通式柱塞閥
1、流道:直通式
2、閥體、閥蓋為鑄鋼件:閥桿、柱塞、隔離環為不銹鋼;密封環、填料為柔性石墨或聚四氟乙烯;閥桿螺母為銅合金
3、密封環、隔離環靠閥體和閥蓋的連接螺栓、螺母及彈簧墊圈壓緊
4、靠柱塞的外徑與密封環內徑實現密封
5、柱塞為空心,上下腔有通孔,閥桿用上密封套和螺母連接,使柱塞上下腔壓力平衡,啟閉時省力。不過閥桿要有上密封和填料密封
6、該閥啟閉速度較慢
五、截止閥形柱塞閥
1、流道:直通式
2、閥體、閥蓋、柱塞體為鑄鋼;閥桿、柱塞壓環為不銹鋼;密封環、填料為柔性石墨或聚四氟乙烯
3、閥體與柱塞密封環配合處鑲有不銹鋼襯套
4、密封環用柱塞壓環壓緊在柱塞體上
5、靠柱塞密封環的外徑和閥體襯套的內徑配合實現密封
6、閥體、閥蓋用螺栓連接,密封用墊片
7、閥桿密封用填料和上密封,壓緊填料就可以實現密封
8、閥桿傳動用閥桿螺母,旋轉手輪就可以啟閉閥門
9、該種結構的柱塞閥比常規柱塞閥啟閉速度快
六、法蘭連接雙閥座壓力平衡直通式柱塞閥
1、流道:雙口直通式
2、閥體、上閥蓋、下閥蓋均為鑄鋼件;閥桿,柱塞,隔離環為不銹鋼;密封環,填料為柔性石墨或聚四氟乙烯
3、密封環、隔離環柱塞導向套用上、下閥蓋,螺栓、螺母、彈簧墊圈壓緊在閥體內
4、柱塞可在上下密封環和導向套內上下運動,導向套上設有壓力平衡孔,介質壓力可由小孔進入導向套下腔。靠柱塞的雙密封面和閥體內的雙密封環就可實現密封
5、該閥為雙閥座密封柱塞閥,可通過較大流量,由于柱塞較短,啟閉速度比常規的柱塞閥大些
6、閥桿密封采用上密封和填料,壓緊填料壓蓋就可實現閥桿密封
7、閥桿螺母鑲在商上閥蓋上旋轉手輪就可帶動柱塞閥啟閉
七 內螺紋連接直角式柱塞閥
流道:直角式
八、 法蘭連接直角式柱塞閥
流道:直角式
九、法蘭連接壓力平衡直角式柱塞閥
流道:直角式
本文來源:http://www.gychuchen158.cn/zhusaifa/96.html,轉載必須保留網址。







